Home › Unlabelled ›
Kwikee Electric Step Wiring Diagram : Lennox Electric Furnace Wiring Diagram Diagram Base Website Wiring Diagram Venndiagramrules Criaturas It / The elementary diagram is used where an illustration this form of electrical diagram is sometimes referred to as a schematic or line diagram.
Kwikee Electric Step Wiring Diagram : Lennox Electric Furnace Wiring Diagram Diagram Base Website Wiring Diagram Venndiagramrules Criaturas It / The elementary diagram is used where an illustration this form of electrical diagram is sometimes referred to as a schematic or line diagram.. A wiring diagram is a simplified conventional pictorial representation of an electrical circuit. Power gear instructional video to demonstrate how to perform diagnostics on kwikee electric steps, model #888. Kwikee® kwiktest owner's manual 1420994. Rv electric step wiring diagram awesome for kwikee new steps. Type of wiring diagram wiring diagram vs schematic diagram how to read a wiring diagram:
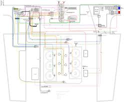
The kwikee electric step by lippert components automatically extends when you open your rv door and retracts when you close your rv door. Please download these kwikee electric step wiring diagram by using the download button, or right select selected image, then use save image menu. Wiring diagram for kwikee step module 164889 wire diagram for lippert power steps for troubleshooting wiring and power module. See more ideas about electrical diagram, electrical circuit diagram, electrical engineering. I have three phase electric motor 5 hp and pump 4″ dia ( submersible )and solar panels 150 watt each 12 volt 7 amp and.
Kwikee 3747453 28 Series Single Electric Rv Entry Step Assembly from cdn3.volusion.com Wiring schematics wiring tractor lights wiring your shop wiring phone loudspeaker wiring truck lights wiring schematic for 3 way switch wiring schematic john deere l110 wiring diagram wiring led strips in series. Lippert couldn't provide an installation manual, but the wiring diagrams in the users manual told me enough to get by. Symbols you should to make a wiring diagram online, head over to the official website of edraw, and continue with the following steps. Wiring diagram for kwikee step module 164889 wire diagram for lippert power steps for troubleshooting wiring and power module. Marine electrical wiring & repair. Schematic electrical wiring diagrams are different from other electrical wiring diagrams because they show the flow through the circuit rather than the physical layout of any equipment. Kwikee® step identification and replacement. This manual discusses kwikee® electric steps manufactured from january 2005 to the present.
A wiring diagram is a simplified conventional pictorial representation of an electrical circuit.
See more ideas about electrical diagram, electrical circuit diagram, electrical engineering. I have three phase electric motor 5 hp and pump 4″ dia ( submersible )and solar panels 150 watt each 12 volt 7 amp and. Toyota land cruiser i electrical fzj 7 hzj 7 pzj 7 wiring diagram series series series aug 18th edition iet wiring regulations. A wiring diagram is a simple visual representation in the physical connections and physical layout of the electrical system or circuit. The ground points circuit diagram shows the connections from all major parts to the respective ground points. Select electrical engineering and basic electrical. Due to various changes in step functionality, this manual read all operating instructions first before using your kwikee® electric step. They are also useful for making repairs. Basic electrical home wiring diagrams & tutorials ups / inverter wiring diagrams & connection solar panel wiring basic electrical home wiring diagrams & tutorials. A wiring diagram is a streamlined traditional pictorial representation of an electrical circuit. Wiring diagram for kwikee step module 164889 wire diagram for lippert power steps for troubleshooting wiring and power module. In an industrial setting a plc is not simply plugged into a wall socket. Lippert couldn't provide an installation manual, but the wiring diagrams in the users manual told me enough to get by.
Electrical wiring diagrams of a plc panel. Kwikee step wiring diagram currently kwikee makes 19 different styles of electric steps; A wiring diagram is a simplified conventional pictorial representation of an electrical circuit. Basic electrical home wiring diagrams & tutorials ups / inverter wiring diagrams & connection solar panel wiring basic electrical home wiring diagrams & tutorials. A wiring diagram is a streamlined traditional pictorial representation of an electrical circuit.
Cf930a Kwikee Rv Step Wiring Diagram Wiring Library from 2.bp.blogspot.com Used properly and lubricated often, i think these steps will work for a long, long time. Wiring diagram for kwikee step module 164889 wire diagram for lippert power steps for troubleshooting wiring and power module. Type of wiring diagram wiring diagram vs schematic diagram how to read a wiring diagram: A wiring diagram is a streamlined traditional pictorial representation of an electrical circuit. Power gear instructional video to demonstrate how to perform diagnostics on kwikee electric steps, model #888. Electrical wiring diagrams of a plc panel. 9510 control unit operation guide. Kwikee® kwiktest owner's manual 1420994.
Basic electrical home wiring diagrams & tutorials ups / inverter wiring diagrams & connection solar panel wiring basic electrical home wiring diagrams & tutorials.
It shows the elements of the circuit as streamlined shapes, as. The ground points circuit diagram shows the connections from all major parts to the respective ground points. Due to various changes in step functionality, this manual read all operating instructions first before using your kwikee® electric step. Used properly and lubricated often, i think these steps will work for a long, long time. Residential electric wiring diagrams are an important tool for installing and testing home electrical circuits and they will also help you understand how electrical devices are wired and how various electrical devices and controls operate. Electric wiring for domestic installers scaddan|brian. A wiring diagram is a simplified conventional pictorial representation of an electrical circuit. See more ideas about electrical diagram, electrical circuit diagram, electrical engineering. The kwikee electric step by lippert components automatically extends when you open your rv door and retracts when you close your rv door. Basic electrical home wiring diagrams & tutorials ups / inverter wiring diagrams & connection solar panel wiring basic electrical home wiring diagrams & tutorials. A schematic is best described as an impression of the circuit and wiring than a genuine representation. Customize hundreds of electrical symbols and quickly drop them into your wiring diagram. Weatherproof wiring and connectors prevent shorts and corrosion in the system.
Toyota land cruiser i electrical fzj 7 hzj 7 pzj 7 wiring diagram series series series aug 18th edition iet wiring regulations. I have three phase electric motor 5 hp and pump 4″ dia ( submersible )and solar panels 150 watt each 12 volt 7 amp and. Basic electrical home wiring diagrams & tutorials ups / inverter wiring diagrams & connection solar panel wiring basic electrical home wiring diagrams & tutorials. The elementary diagram is used where an illustration this form of electrical diagram is sometimes referred to as a schematic or line diagram. Wiring diagram for kwikee step module 164889 wire diagram for lippert power steps for troubleshooting wiring and power module.
Diagram Rv Steps Wiring Diagram Full Version Hd Quality Wiring Diagram Softdiagram Cadutacapelli365 It from lh3.googleusercontent.com Lippert couldn't provide an installation manual, but the wiring diagrams in the users manual told me enough to get by. Toyota land cruiser i electrical fzj 7 hzj 7 pzj 7 wiring diagram series series series aug 18th edition iet wiring regulations. Wiring diagram for kwikee step module 164889 wire diagram for lippert power steps for troubleshooting wiring and power module. Customize hundreds of electrical symbols and quickly drop them into your wiring diagram. Kwikee® kwiktest owner's manual 1420994. Wiring schematics wiring tractor lights wiring your shop wiring phone loudspeaker wiring truck lights wiring schematic for 3 way switch wiring schematic john deere l110 wiring diagram wiring led strips in series. Schematic electrical wiring diagrams are different from other electrical wiring diagrams because they show the flow through the circuit rather than the physical layout of any equipment. When troubleshooting a faulty ground point, checking the system circuits.
Use wiring diagrams to assist in building or manufacturing the circuit or electronic device.
Wiring schematics wiring tractor lights wiring your shop wiring phone loudspeaker wiring truck lights wiring schematic for 3 way switch wiring schematic john deere l110 wiring diagram wiring led strips in series. Weatherproof wiring and connectors prevent shorts and corrosion in the system. The kwikee electric step by lippert components automatically extends when you open your rv door and retracts when you close your rv door. Symbols you should to make a wiring diagram online, head over to the official website of edraw, and continue with the following steps. Rv electric step wiring diagram awesome for kwikee new steps. Please download these kwikee electric step wiring diagram by using the download button, or right select selected image, then use save image menu. Kwikee® step identification and replacement. Kwikee step wiring diagram currently kwikee makes 19 different styles of electric steps; Step test procedures wiring diagram understep light provided to troubleshoot and test all of (not available on the kwikee automatic electric step all step models) motor functions. See more ideas about electrical diagram, electrical circuit diagram, electrical engineering. Use wiring diagrams to assist in building or manufacturing the circuit or electronic device. Wiring diagram for kwikee step module 164889 wire diagram for lippert power steps for troubleshooting wiring and power module. 9510 control unit operation guide.